
湖北雙利農機制造有限公司
銷售熱線:139-0866-5729 周總
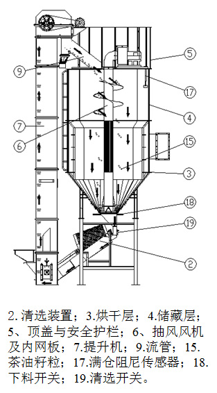
銷售熱線:0722-3581008
傳真電話:0722-3581008
辦公電話: 0722-3581008
電子信箱:[email protected]
公司網(wǎng)址:m.567n.cn
公司地址:湖北省隨州市曾都區(qū)工業(yè)基地6號
油菜籽烘干機的特點有哪些?湖北烘干機廠家從三個方面給大家說說:
一、物料要求
使用于不同含水量的物料。
改變震動電機激振力和安裝方向角度,可改變物料運行速度和運動狀態(tài),故可適用于不同含水率的物料的干燥和冷卻。
二、功能
可達到烘干冷卻兩種功能。
烘干后的油菜籽在裝袋之前需將溫度降低到室溫高8-15攝氏度的范圍內,可將兩臺烘干機串聯(lián),中間加隔板,前段通熱風,后段通冷風,可達到干燥冷卻的目的。
三、烘干機安裝試車
1、該設備應安裝在水平的混凝土基礎上,用地腳螺栓固定?!?/span>
2、安裝時應注意主機體與水平的垂直?!?/span>
3、安裝后檢查各部位螺栓有無松動及主機艙門是否緊固,如有請進行緊固。
4、按設備的動力配置電源線和控制開關。
5、檢查完畢,進行空負荷試車,試車正常即可進行生產。
